
Габаритные и присоединительные размеры NORD мотор-редукторы SK 92172, SK 92172AX, SK 92172AF, SK 92172VF, SK 92172AFB(AXB), SK 92172 AZB, SK 92172AZSH, SK 92172 AZD |
| |
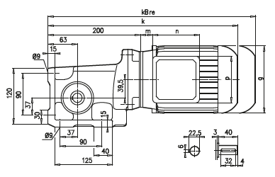
| SK 92172 |
SK 92172AX |
 |
 |
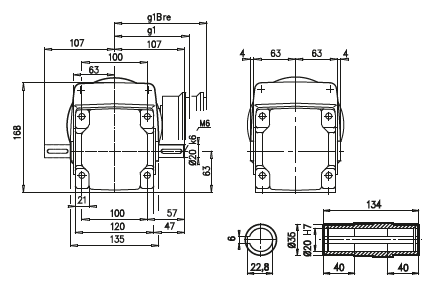
| SK 92172AF |
SK 92172VF |
 |
 |
a1 |
b1 |
c1 |
e1 |
f1 |
s1 |
160 |
110 |
12 |
130 |
3,5 |
4 x 9 |
A45 |
63 S/L |
71 S/L |
80 S/L |
90 S/L |
g |
130 |
145 |
165 |
183 |
g1 / g1Bre |
115 / 123 |
124 / 133 |
142 / 142 |
147 / 147 |
k1 / k1Bre |
393 / 449 |
415 / 476 |
437 / 501 |
477 / 552 |
k / kBre |
392 / 448 |
414 / 475 |
436 / 500 |
476 / 551 |
m / mBre |
12 / 19 |
20 / 27 |
22 / 26 |
26 / 30 |
n / nBre |
100 / 134 |
100 / 134 |
114 / 153 |
114 / 153 |
p / pBre |
100 / 89 |
100 / 89 |
114 / 108 |
114 / 108 |
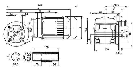
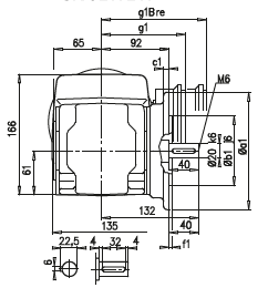
| SK 92172AZ |
SK 92172 AZD |
 |
 |
A45 |
63 S/L |
71 S/L |
80 S/L |
90 S/L |
g |
130 |
145 |
165 |
183 |
g1 / g1Bre |
115 / 123 |
124 / 133 |
142 / 142 |
147 / 147 |
k1 / k1Bre |
393 / 449 |
415 / 476 |
437 / 501 |
477 / 552 |
m / mBre |
12 / 19 |
20 / 27 |
22 / 26 |
26 / 30 |
n / nBre |
100 / 134 |
100 / 134 |
114 / 153 |
114 / 153 |
p / pBre |
100 / 89 |
100 / 89 |
114 / 108 |
114 / 108 |
|
| |